La finalidad de este proyecto es encender una lámpara incandescente cuando anoche y borrarla al amanecer. Si bien las bombillas incandescentes están aburridas, una de pequeña potencia con 15 a 25 W de potencia sirve para iluminar puntos críticos con jardines y hall de entradas.
Si bien los interruptores crepusculares pueden ser adquiridos listos en casas de materiales eléctricos y electrónicos a un costo muy bajo, el montaje de uno puede ser interesante para propósitos didácticos.
El circuito presentado es simple, pudiendo alimentar una pequeña lámpara incandescente en señalización o iluminación, aunque tenga sus limitaciones.
El circuito es muy sensible, ya que utiliza un sensor del tipo LDR que debe apuntar al cielo para no ser realimentado por la luz de la propia lámpara que controla.
Si recibe esta luz directamente pueden entrar en la oscilación.
En la condición en que la lámpara está apagada el consumo es extremadamente bajo.
Como funciona
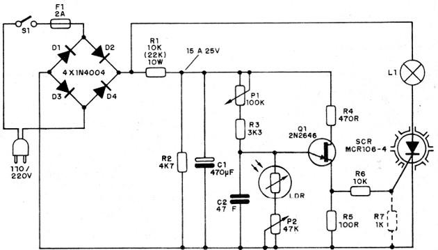
La tensión de la red de energía es rectificada en un puente de modo que el SCR pueda tener un control de onda completo.
Un resistor baja la tensión para el circuito de control formado por un transistor unijuntura.
Este transistor genera pulsos de disparo muy rápido para permitir que la lámpara reciba alimentación máxima cuando está activo.
Sin embargo, el circuito sólo oscila cuando el LDR presenta una alta resistencia.
Cuando se ilumina impide la oscilación y el SCR permanece inhibido sin conducir la corriente a la lámpara utilizada como carga.
Un trimpot o potenciómetro en serie con el LDR ajusta su punto de disparo, junto con otro en serie con el emisor de Q1.
Montaje
En la figura 1 tenemos entonces el diagrama completo del aparato.

Para un montaje simplificado basado en un puente de terminales tenemos la disposición de componentes mostrada en la figura 2.

Un montaje más compacto es el que hace uso de una placa de circuito impreso como la mostrada en la figura 3.

Un pequeño radiador de calor es atrapado en el SCR.
Observe que el montaje no está aislado de la red de energía, pudiendo causar choques en tocar en cualquiera de sus puntos.
Prueba y uso
Instale el LDR en un tubo opaco y encienda el sistema.
El LDR debe apuntar a un lugar que no reciba la luz de la lámpara.
Cubra el LDR con la mano y ajuste P1 y P2 para que la lámpara se encienda.
Deslice el LDR de modo que reciba luz ambiental, ajuste los potenciómetros para que la lámpara se apague.
Compruebe el funcionamiento normal y haga la instalación.
La resistencia R7 será necesaria si el SCR permanece en la conducción en cualquier punto de los ajustes.
Obs: no utilice el circuito con lámparas electrónicas
Q1 - 2N2646 - transistores unijunción
D1 a D4 - 1N4004 para la red de110 V o 1N4007 a la red de 220 V.
SCR - TIC106B para la red de 110 V y D para la red de 220 V
LDR - LDR redondo común
S1 - Interruptor simple
F1 - 2 A - fusible
L1 - 5 a 25 W- lámpara incandescente
P1 - 100k - pote
P2 - 47k - pote
R1 - 10k ohms x 10 W (110 V) o 22k x 5 W (220 V) - resistor de hilo
R2 - 4k7 x 1/8 W - resistor - amarillo, violeta, rojo
R3 - 3k3 x 1/8 W - resistor - naranja, naranja, rojo
R4 - 470 ohms x 1/8 W - resistor - amarillo, violeta, marrón
R5 - 100 ohms x 1/8 W - resistor - marrón, negro, marrón
R6 - 10 k ohms x 1/8 W - resistor - marrón, negro, naranja
R7 - 1k x 1/8 W - resistor - marrón, negro, rojo (opcional)
C1 - 470 uF x 25 V - electrolítico
C2 - 47 nF- capacitor poliéster o cerámico
Varios:Placa de circuito impreso o puente de terminales, cable de alimentación, soporte para fusible, zócalo para la lámpara, hilos, soldadura, etc.



