Es un montaje interesante que puede tener muchas aplicaciones prácticas: con un toque en un sensor encendemos una lámpara; tocando en otro sensor apagamos esta lámpara, pero al mismo tiempo encendimos otra. Un nuevo toque en el primer sensor hace que el aparato vuelva a la situación inicial. Una aplicación interesante es en señalización, cuando una lámpara puede ser roja y la otra verde.
Un bautismo es un circuito en el que tenemos dos estados estables posibles, pero que no pueden ocurrir al mismo tiempo. Así, si un elemento del circuito está en conducción, el otro no estará. El cambio de estado de uno de los elementos automáticamente lleva al otro a cambiar también de estado.
El tipo más común de biestable es lo que hace uso de transistores, como muestra la figura 1.

Sin embargo, para poder controlar directamente la corriente de la red de alimentación de 110 V o 220 V usamos SCRs obteniendo así un circuito diferente. Este circuito puede controlar lámparas de hasta 200 W en 110V, y es bastante sensible, operando con el simple toque de los dedos en un sensor.
Otra aplicación posible para este circuito es como conmutador de lámparas comunes.
COMO FUNCIONA
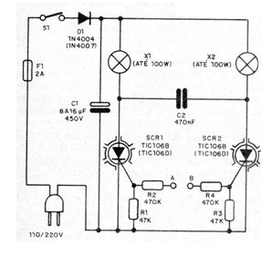
Usamos dos SCR (diodos controlados de silicio), que no son más que interruptores muy sensibles de estado sólido. Un pulso de tensión muy débil en su conducto (gate) puede dispararlos, llevándolos a conducir corrientes muy intensas.
Estos SCR se conectan lado a lado, teniendo en sus anodos (A) las lámparas y entre ellos un capacitor de poliéster de alta tensión (250 V) conectado de forma especial. En la compuerta de cada SCR conectamos un resistor de 47 k para polarización, evitando el disparo errático, y uno de 470 k para limitar la corriente de los sensores (A y B).
Cuando ponemos los dedos en los sensores (A y o B), una pequeña corriente circula entre nuestro cuerpo y este elemento. El resistor de alto valor limita esta corriente de tal forma que no hay peligro alguno de choque. No sentimos nada, pero el SCR se dispara, encendiendo así la lámpara correspondiente.
Si tocamos en A, enciende la lámpara X1 y si tocamos en B enciende la lámpara X2. Una vez encendida, la lámpara permanece por tiempo indefinido, incluso después de quitar el dedo del sensor correspondiente. Esto ocurre gracias a la presencia de corriente continua en el circuito suministrado por D1 y C1.
Para apagar la lámpara que ha sido encendida debemos tocar el otro sensor. Así, si Xl está encendida, tocamos en B. En estas condiciones la corriente de disparo va hacia el SCR2 que conecta y enciende la lámpara X2.
Sin embargo, la conexión de SCR2 corresponde a un cortocircuito momentáneo para el capacitor C2, que entonces se descarga, pero con ello reduce la tensión entre el ánodo y el cátodo de SCR1 a un punto tal que no puede mantenerse activado . El resultado p es que, en el momento en que SCR2 se enciende, el SCR1 se apaga, apagando la otra lámpara. Si a continuación, tocamos en A, el efecto será inverso: SCR1liga, colocando en corto C2 que se descarga y hace que SCR2 apague, apagando X2.
En resumen, cada vez que encienda una de las lámparas con el toque en el sensor correspondiente, la otra se apagará.
El aparato funciona tanto en la red de 110 V como 220 V, bastando con que se seleccionen componentes apropiados.
Así, para el SCR utilizamos tipos TIC106B si la red es de 110 V y TIC1O6D si la red es de 220 V.
Para D1 usamos el 1N4004 en la red de 110 V y el 1N4007 si la red es de 220 V.
De la misma manera la tensión de aislamiento de C1 debe ser de al menos 250 V si la red es de 110 V y 450 V si la red es de 220V, lo mismo ocurre con respecto a C2.
MONTAJE
Comenzamos por dar en la figura 2 el diagrama completo del aparato.

Los componentes, que son pocos y de dimensiones razonables, se pueden instalar en un puente de terminales (figura 3) y luego fijados dentro de una caja plástica. Recomendamos el uso de radiadores de calor para los SCR.

Observe que el control es de media onda, pero como tenemos la rectificación con una tensión de pico en el capacitor, el brillo no quedará reducido en mucho, por lo menos para lámparas hasta 60 W.
Los resistores son de 1/8 o ¼ W con 5 o 10% de tolerancia.
Los cables de conexión a las lámparas pueden ser largos (hasta 20 metros), pero esto no es posible para los cables de conexión a los sensores, ya que si tienen más de 2 metros pueden captar zumbidos y provocar el accionamiento indebido del circuito.
PRUEBA Y USO
En la prueba del aparato, encienda la unidad. Ninguna de las lámparas debe encenderse. Tocando en A debe encender la lámpara X1; tocando en B, X2 debe encenderse y Xl borrar. Tocando nuevamente en A el efecto inverso debe ocurrir: mientras X1 se enciende, X2 debe borrar. Los problemas de accionamiento indebido pueden ocurrir si algún componente tiene problemas.
La quema del fusible puede ocurrir si C1 está mal, Si con el toque no ocurre el encendido, invierte la posición de la toma, girándola en 180 grados (media vuelta).
Si se producen problemas con la conmutación (cuando una encendida la otra no se apaga) aumente el valor de C2, conectando otro del mismo valor en paralelo.
SCR1, SCR2 - TlC106B (para 110 V) o TlC106D (para 220 V)
D1 - 1N4004 (110 V) o 1 N4007 (220 V) - diodo rectificador
F1 - fusible de 2 A
S1 - interruptor simple
Cl - 8 a 16 uF x 250 o 450 V - capacitor electrolítico - ver texto
C2 - 470 nF - capacitor de poliéster - ver el texto
X1, X2 - lámparas comunes de 110 o 220 V (de 5 a 100 W)
R1, R3 - 47k - resistores (amarillo, violeta, naranja)
R2, R4 - 470 k - resistores (amarillo, violeta, amarillo)
A, B - sensores - ver texto
Varios: puente de terminales, cable de alimentación, cables, caja para montaje. radiadores de calor para los SCR, etc.
Importante: Este circuito sólo funciona con lámparas incandescentes.



