Para los que gustan de juegos de azar, he aquí una versión electrónica bastante simple e interesante que hace, uso de dos integrados y admite 5 posibilidades de resultado para cada lance. Se trata del conocido juego del "Rapa-todo" normalmente hecho con la ayuda de un pequeño pión que debe ser rodado determinando un castigo o premio para el lanzador. En la versión electrónica, este juego es prácticamente a prueba de fraudes o efectos que puedan favorecer a algún jugador.
El juego del rapa-todo se practica con la ayuda de un pequeño pión y fichas que son distribuidas por los jugadores.
A cada tiro la posición en la que el pion para determinar lo que se debe hacer con las fichas, siendo el mejor tiro lo que hace al jugador ganar toda la cantidad acumulada, o sea "rapa-todo".
En la versión electrónica que proponemos, el sorteo se hace con la ayuda de un circuito electrónico que hace encender uno de 5 LEDs después de la oferta.
El LED se encender y, por lo tanto, el resultado del sorteo, es totalmente imprevisible e incontrolable, ya que no es posible ningún tipo de influencia externa del jugador.
El parpadeante de los LEDs hasta terminar la oferta da un aspecto muy atractivo al juego, que agradará principalmente a los niños.
El aparato es alimentado por pilas comunes y es totalmente portátil.
COMO FUNCIONA
En el accionamiento de 1 a 5 LEDs tenemos un circuito integrado 4017 que funciona como contador hasta 5.
Así, a cada pulso que aplicamos en la entrada (pin 14) del 4017 un LED es apagado y el siguiente encendido, eso en un ciclo cerrado, o sea, cuando el último LED es apagado el primero se enciende.
De esta forma, si aplicamos un cierto número de pulsos a este circuito integrado el LED que permanecerá encendido será uno solo y dependerá de este número.
El que determina la cantidad de pulsos es el circuito de sorteo que tiene como base un oscilador con el circuito integrado CMOS 4011.
Para evitar que el jugador pueda controlar el número de pulsos producidos y con ello el resultado de la jugada, dos recursos se utilizan en este circuito.
El primero consiste en hacerlo funcionar a una velocidad tan grande que no sea posible para el jugador controlar el LED en que haya la parada.
El segundo, consiste en temporizar el sorteo, haciendo que ocurra unos segundos después de que el jugador retire el dedo del interruptor que hace la jugada.
La velocidad del sorteo, del orden de cientos o hasta miles de ciclos por segundo, se determina por C2 que puede tener valores entre 47 nF y 470 nF.
El tiempo que el aparato mantiene el circuito activado antes de la parada, se determina por C1 que puede tener valores entre 1 uF y 22 uF.
Se sugiere el valor de 4,7 uF para un tiempo razonable.
Así, cuando el jugador presiona S1, habilita el oscilador que comienza a producir pulsos para la cuenta cíclica del 4017.
Al soltar S1, el capacitor se carga a través de R1 manteniendo el oscilador habilitado por algún tiempo, hasta el instante en que las oscilaciones paran.
En este momento tenemos un LED único encendido en la salida del 4017.
La alimentación del circuito se realiza con una tensión de 6 V proveniente de 4 pilas pequeñas.
El consumo de corriente del circuito es bastante bajo, lo que permite jugar mucho, antes de que sea necesario su cambio.
MONTAJE
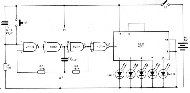
En la figura 1 tenemos el diagrama completo de nuestro juego.

El montaje se puede realizar en una placa de circuito impreso como se muestra en la figura 2.

En esta placa los LED se fijan con terminales mantenidos largos de modo que puedan salir directamente en el panel de la caja donde se determinará su función en el sorteo.
En la figura 3 tenemos una sugerencia de caja para montaje, previendo est'y tipo de instalación para los LED.

Los resistores son todos de 1/8 o ¼ W y el electrolítico es para 6 V o más.
S1 es un interruptor de presión tipo "botón de timbre", para los circuitos integrados sugerimos el uso de zócalos.
Los LED pueden ser de cualquier tipo y color o incluso de diferentes colores.
Podemos usar los rojos para las jugadas desfavorables como: "pierde todo", "pierde 1" y "pierde 2", el amarillo para la jugada indiferente como "deja" y LEDs verdes para las jugadas favorables como "rapa todo" y gana 1 .
Para probar el aparato, basta con colocar las pilas en el soporte y conectar S2. Debe encender un solo LED.
A continuación, pulse S1. Los LED deben parpadear muy rápidamente o bien quedar encendidos con brillo reducido (debido al ciclo muy rápido de encendido es esta la impresión que tendremos).
Soltando S1 después de unos segundos se enciende un solo LED que corresponde a la jugada.
Comprobado el funcionamiento es sólo jugar.
Para ello, cada jugador a su vez presione S1 y suelte, haciendo lo que la jugada determina.
Utilice fichas, tapas o monedas. Cada jugador que pierde todas las fichas es eliminado.
CI-1 - 4011 - circuito integrado
CI-2 - 4017 - circuito integrado
LED1 a ED5 - LEDs comunes - ver texto
S1 - interruptor de presión NA
S2 - interruptor simple
B1 - 6 V - 4 pilas pequeñas
C1 - 1 uF a 22 uF - capacitor electrolítico (6 V o más)
C2 - 100 nF (104 o 0,1) - capacitor de cerámica o de poliéster
R1 - 1 M ohms - resistor (marrón, negro, verde)
R2, R3 - 47 k ohms - resistores (amarillo, violeta, naranja)
Varios: placa de circuito impreso, soporte para 4 pilas pequeñas, caja para montaje, hilos, soldadura, etc.



