Esta es una sirena simple que produce tonos de frecuencia diferentes alternados. Se trata de un diseño ideal para ser utilizado en alarmas o sistemas de advertencia. El circuito tiene alta potencia pudiendo ser alimentado por tensiones de 9 a 12 V y más bajas con el cambio del transistor.

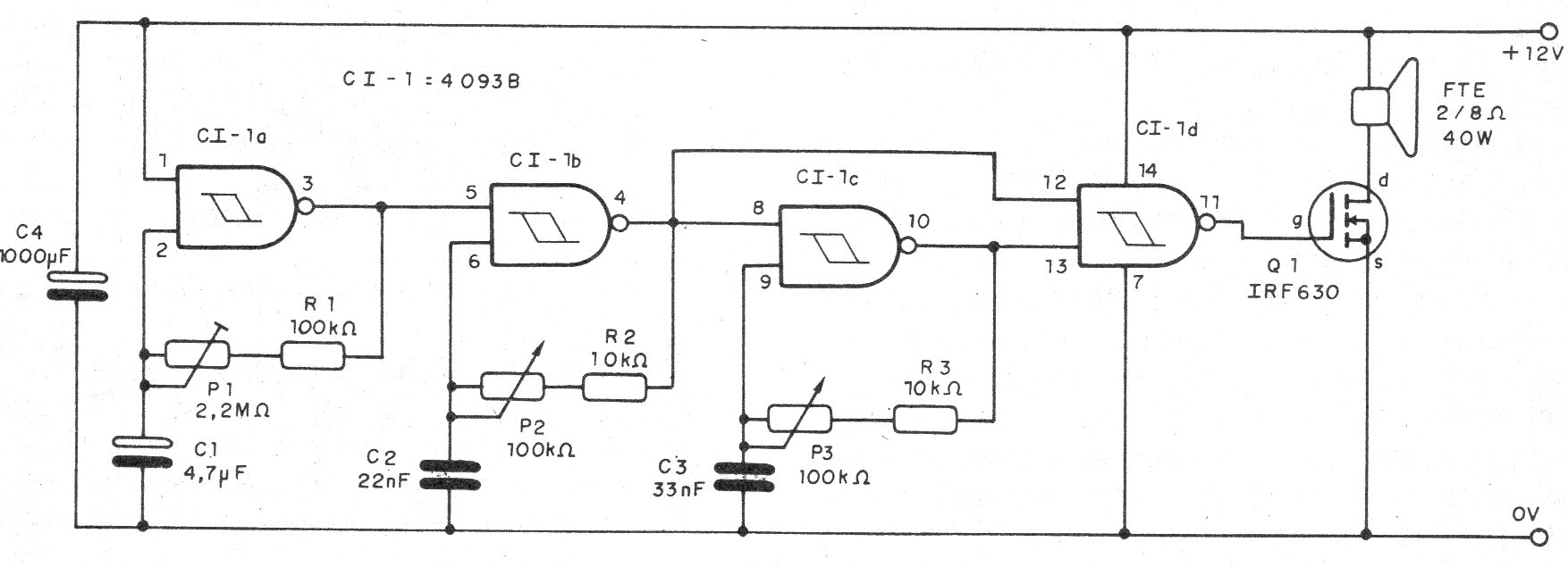
   La base de la sirena son tres osciladores elaborados en torno a las cuatro puertas disponibles en un circuito integrado 4093.

   La primera puerta forma el oscilador lento de modulación cuya frecuencia depende de C1 y se ajusta en P1.

    Los dos puertos siguientes forman dos osciladores de audio que generan los tonos que alternará el primer circuito.

   Las frecuencias de estos tonos se ajustan en los trimpots P2 y P3 dependiendo de los capacitores C2 y C3.

   La cuarta puerta del 4093 se utiliza como un buffer mezclador para los tonos, aplicando su señal de salida a un MOSFET de potencia que tiene por carga de drenaje un altavoz de buen rendimiento.

   Para alimentar con menos de 12 V (5 a 9 V), el transistor puede ser sustituido por un BD135 con un resistor de 1k en serie con la base.

   En todos los casos, el transistor debe estar dotado de un radiador de calor apropiado.

   En la figura 1 tenemos el diagrama completo de la sirena.

 

 

   Figura 1 - Diagrama de la sirena
   Figura 1 - Diagrama de la sirena | Clique na imagem para ampliar |

 

   

En la figura 2 tenemos una sugerencia de placa de circuito impreso para el montaje.

 

 

   Figura 2 -Placa para el montaje
   Figura 2 -Placa para el montaje | Clique na imagem para ampliar |

 

   

En el montaje, observe la posición del circuito integrado y del transistor, así como la polaridad de los capacitores electrolíticos.

   Los resistores son de 1/8 W y para mayor rendimiento se debe utilizar un altavoz pesado.

 

 

   Lista de material

 

CI-1 - 4093 - circuito integrado

Q1 - IRF640 o equivalente - MOSFET de potencia - ver texto

P1 - 2M2 ohms - trimpot

P2, P3 - 100 k ohms - trimpots

R1 - 100 k ohms - resistor - marrón, negro, amarillo

R2, R3 - 10 k ohms - resistores - marrón, negro, naranja

C1 - 4,7 uF - electrolítico

C2, C3 - 22 nF - cerámicos o poliéster

C4 - 1 000 uF - electrolítico

FTE - 2 a 8 ohmios - altavoz -ver texto

Varios:

Placa de circuito impreso, caja para montaje, hilos, soldadura.