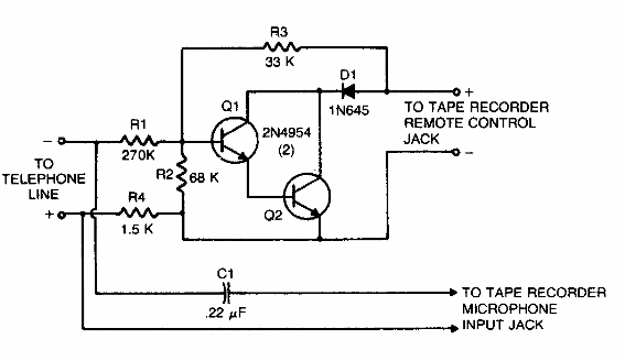
Este circuito activa una grabadora a partir de la señal obtenida de una línea telefónica en el servicio. Se utiliza para realizar grabaciones automáticas de llamadas.

Circuito de inicio por teléfono
Este circuito activa una grabadora a partir de la señal obtenida de una línea telefónica en el servicio. Se utiliza para realizar grabaciones automáticas de llamadas.
