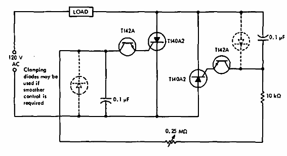
Este circuito de Texas Instruments de 1968 usa diacs de la época. Los SCR pueden ser equivalentes modernos de acuerdo con la carga controlada.

Control de onda completa
Este circuito de Texas Instruments de 1968 usa diacs de la época. Los SCR pueden ser equivalentes modernos de acuerdo con la carga controlada.
