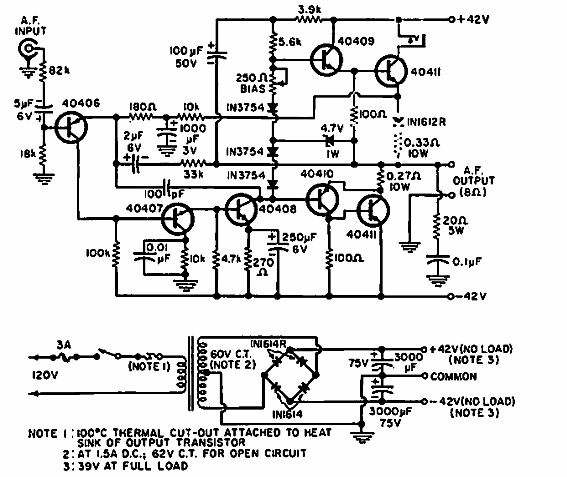
Este circuito se encontró en una Electronics World de 1966. Tiene un rango de 5 a 25 000 Hz a 1 dB y la fuente de alimentación está incluida en el diagrama.

Amplificador de 70 W
Este circuito se encontró en una Electronics World de 1966. Tiene un rango de 5 a 25 000 Hz a 1 dB y la fuente de alimentación está incluida en el diagrama.
