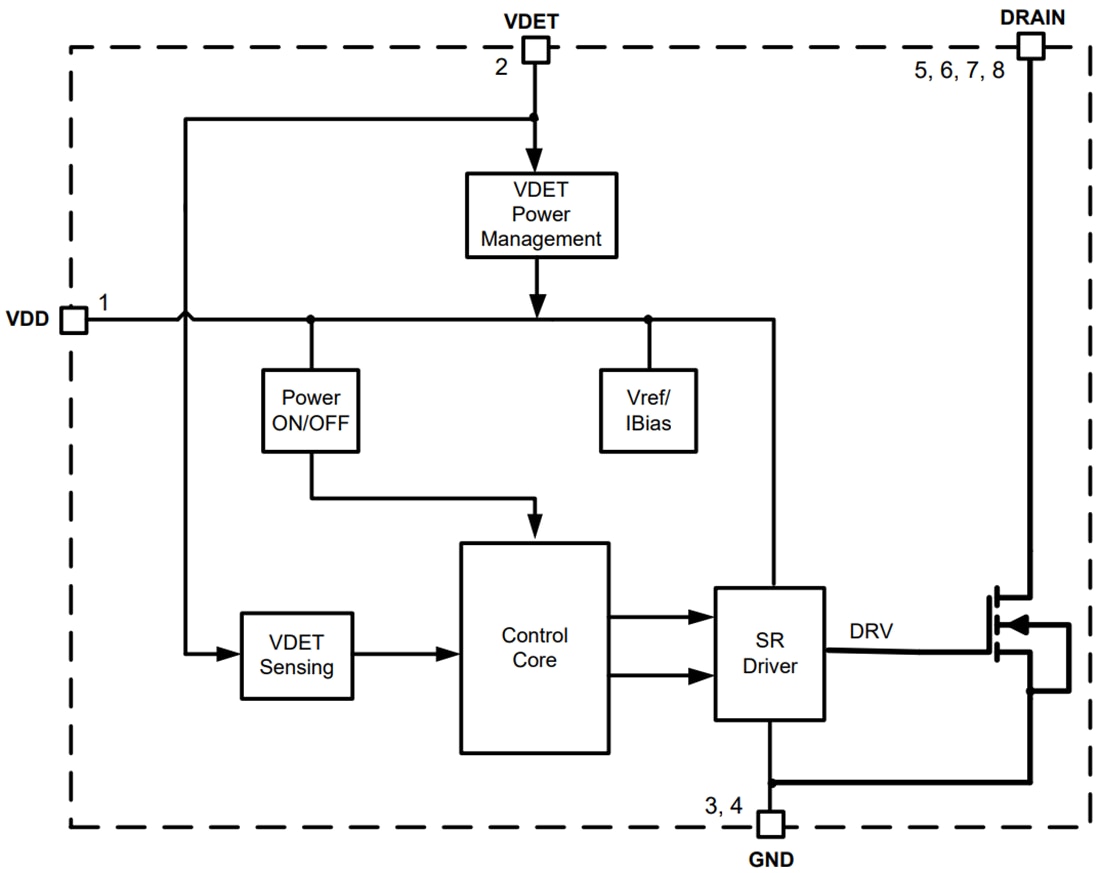
diodos inc. El conmutador SR del lado secundario APR34910 es un circuito integrado de combinación del lado secundario que combina un MOSFET de canal N y un circuito controlador diseñado para la rectificación síncrona (SR). El APR34910 admite el modo de conducción continua y discontinua (CCM y DCM) y la operación flyback casi resonante. Proporciona un breve retardo de encendido y apagado para reducir la pérdida de energía y elimina la activación falsa para mantener un funcionamiento seguro sin agregar componentes o circuitos externos.




