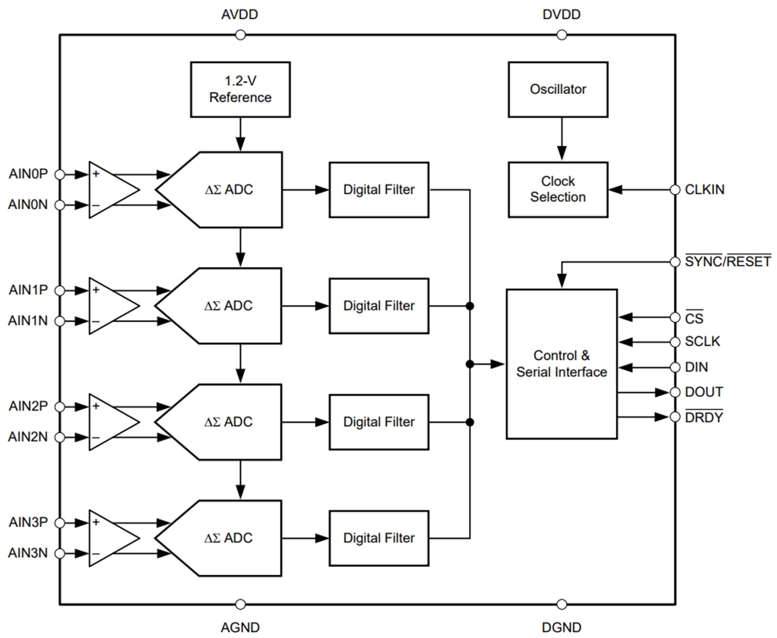
El convertidor de analógico a digital (ADC) ADS130B04-Q1 de 4 canales y 32kSPS Delta-Sigma (ΔΣ) de Texas Instruments ofrece un amplio rango dinámico, baja potencia y entradas analógicas con búfer. Estas características hacen que el dispositivo sea una excelente opción para los sistemas de gestión de baterías (BMS) de automóviles. Las entradas de ADC se pueden conectar directamente a resistencias de derivación para mediciones de corriente de batería bidireccionales, redes de divisor de resistores para mediciones de alta tensión o sensores de temperatura (como termistores o sensores de temperatura de salida analógica).




