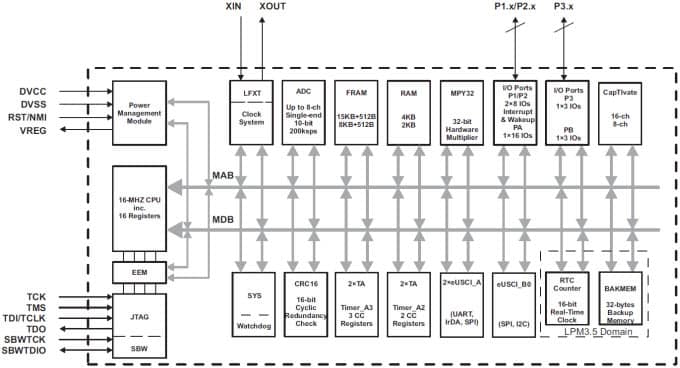
MSP430FR263x y MSP430FR253x Microcontroladores y Ultra Baja Potencia
Esta serie de microcontroladores de Texas Instruments disponibles en Mouser Electronics se caracteriza por el consumo extremadamente bajo (menos de 0,9 uA) y el rango de tensiones de alimentación de 1,8 V a 3,6 V. Sus aplicaciones incluyen termostatos, iluminación, electrónica personal, línea blanca, etc.
----------------



