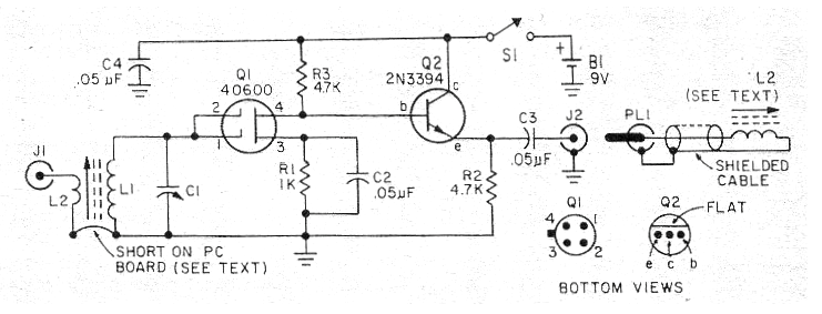
Este circuito fue indicado en el artículo de la revista americana Electronics Hobbyst del invierno de 1971. La revista ya no existe, pero el proyecto se puede montar con cualquier MOSFET de doble puerto equivalente para Q1 y paraQ2 se puede utilizar un BF494 o BF495. L1 consiste en 100 espiras de hilo 28 en un bastón de ferrita y L2 en 20 espiras en el mismo palo. J1 se conecta a una antena externa y L2 en la salida (que en realidad debería ser L3) co0nsiste en algunas vueltas de cable común alrededor de una radio de ondas medias. Con esta función es posible recibir estaciones de onda medias muy débiles y distantes. Durante la noche, con un receptor de buena calidad (selectividad sensibilidad) se puede incluso recibir estaciones internacionales. El capacitor variable puede ser retirado de una radio de ondas medias fuera de uso.




