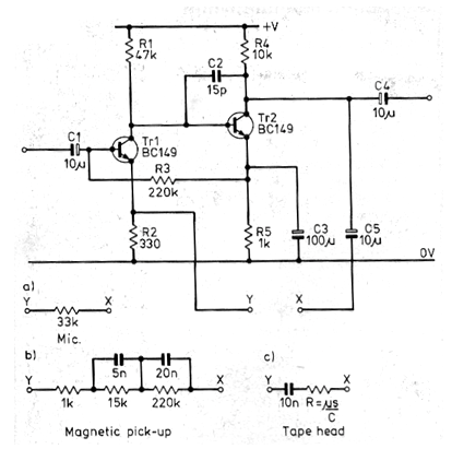
Este circuito apareció en una revista europea de noviembre de 1982. La revista ya no existe, pero el circuito es viable pues todos los componentes son comunes. Sólo los transistores pueden ser sustituidos por los BC549. El circuito tiene tres redes de ecualización según la fuente de señal y que se conectan entre X e Y. El circuito puede ser alimentado por tensiones entre 9 y 15 V y su consumo es muy bajo y puede ser retirado del aparato con el que va De trabajo.




