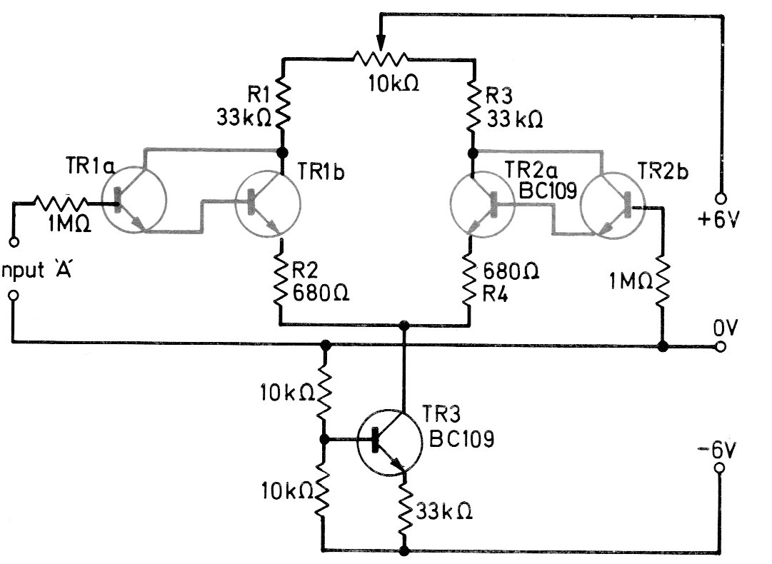
Este circuito fue encontrado en una documentación europea de los años 70. El circuito presenta mayor ganancia que el anterior (CIR5855S) por usar una configuración Darlington. Los transistores pueden ser los BC548 y la alimentación debe ser hecha por una fuente simétrica.




