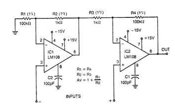
Este circuito es de una antigua publicación de los años 70, pero puede ser implementado con amplificadores operacionales más modernos. La fuente debe ser simétrica y dependiendo del amplificador usado, puede tener tensiones más bajas. La ganancia es dada por la relación entre R1 y R2. Los valores de estos componentes se pueden cambiar dependiendo de la aplicación. Cables de entrada y salida deben ser blindados como requiere este tipo de aplicación, muy sensible a ruidos.




