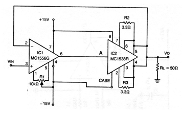
Los circuitos integrados utilizados en este circuito son de los años 70 y por eso, no más comunes en nuestro mercado. Vale la configuración como estudio para implementación con componentes más modernos. El circuito tiene ganancia unitaria y si el segundo operacional es de potencia se puede tener una ganancia muy alta de corriente. El circuito debe ser alimentado por una fuente simétrica de acuerdo con las características de los amplificadores utilizados. La impedancia de entrada es muy alta.




