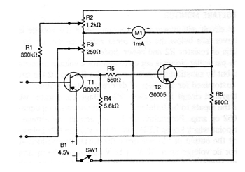
Los transistores de este circuito encontrado en una antigua documentación de los años 70 pueden ser los BC558. Lo que el circuito hace es aumentar la sensibilidad del instrumento, para operar con tensiones muy bajas. El instrumento puede ser sustituido por la escala correspondiente de un multímetro analógico común La alimentación se realiza con 3 pilas pequeñas y el consumo muy bajo. Los dos trimpots hacen el ajuste del punto de funcionamiento pudiendo tener valores estandarizados actuales más cercanos a los indicados.




