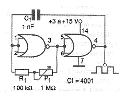
Un oscilador cuya frecuencia puede ajustarse entre 500 Hz y 5 kHz con el uso de un potenciómetro, se muestra en la figura. Otras bandas de frecuencia se pueden obtener con el cambio del capacitor C1. Los valores mayores implican en frecuencias más bajas. La señal producida por este oscilador es rectangular con amplitud igual a la de la tensión de la fuente de alimentación.




