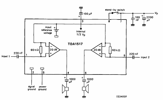
Este amplificador para uso automotriz es sugerido por el Databook de Philips de 1990. El circuito integrado debe estar dotado de radiador de calor y la banda pasante es de 20 Hz a 20 kHz. La impedancia de entrada es de 60 k ohms.

Este amplificador para uso automotriz es sugerido por el Databook de Philips de 1990. El circuito integrado debe estar dotado de radiador de calor y la banda pasante es de 20 Hz a 20 kHz. La impedancia de entrada es de 60 k ohms.
