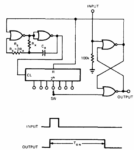
Este circuito utiliza un contador 4020 que divide la frecuencia hasta 210, siendo encontrado en una antigua publicación americana. Rx y Cx determinan los pasos de la temporización y, por lo tanto, el tiempo máximo. La alimentación se puede hacer con tensiones de 5 a 15 V. Encontramos el circuito en una documentación de los años 70, pero es bastante actual.




