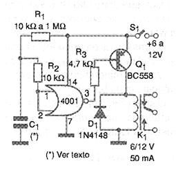
En la figura mostramos otro temporizador, este más simple pues usa sólo una de las cuatro puertas del circuito integrado 4001. Este circuito entra en acción cuando la alimentación conectada, en cuyo caso activa el relé. Podemos usarlo como un circuito de accionamiento retardado para equipos sensibles a aplicaciones bruscas de la tensión de alimentación. Al final del tiempo determinado por R1 y C1, el relé es activado, energizando la carga externa. Podemos invertir su acción usando un transistor NPN. El mayor valor para R1 es 1 M ohms y para C1 es 2 200 uF caso en que tiempos hasta más de media hora pueden ser obtenidos. Los tiempos mayores se ve comprometidos principalmente por las inestabilidades causadas por las fugas en el condensador. Utilizando un Darlington de potencia como el TIP115, cargas con corrientes hasta 1 A pueden ser controladas directamente.




