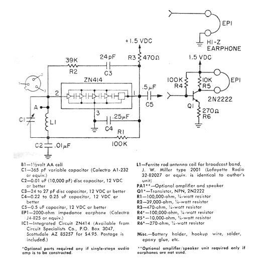
Este circuito fue indicado en un artículo de la revista americana Electronics Hobbyst del verano de 1974. La revista ya no existe, pero el proyecto se puede montar fácilmente, ya que los componentes son comunes excepto el circuito integrado Z414. Este circuito es muy difícil de obtener, pero si usted da suerte se puede utilizar en este proyecto. El ZN414 consiste en una radio AM integrada que puede funcionar con tensiones a partir de 1,2 V. El auricular debe ser de cristal o una cápsula piezoeléctrica. L1 puede ser enrollada consistentes en 80 espiras de hilo 28 a 32 AWG en un bastón de ferrita de 6 a 10 cm. C1 es un condensador variable sacado de una radio de ondas medias. El receptor no necesita antena, pero para las estaciones más débiles se conecta en A.




