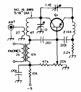
Este receptor recibe las señales del rango de VHF con escucha en auricular o con la aplicación en una etapa de potencia. El transistor puede ser el BF494 si se invertir la polaridad de la alimentación. El choque consiste en 50 espiras de hilo 32 en una forma de 0,5 cm sin núcleo y las bobinas de antena tienen 2 y 4 espiras de hilo 16 en forma de 1 cm sin núcleo. La variable se puede obtener de una radio FM fuera de uso, así como el transformador de salida.




