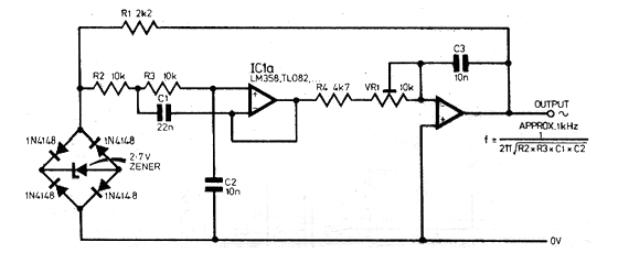
Este circuito originalmente salió en un artículo de la edición de mayo de 1987 de la revista inglesa. Se trata de un circuito que genera señales cuya amplitud es determinada básicamente por el diodo zener en el puente, cuyo valor puede ser alterado. El circuito debe ser alimentado por fuente simétrica con tensión de 5 a 12 V, siempre mayor que la del diodo zener usado en el circuito. El amplificador final de salida es el mismo que se utiliza para IC1a, ya que IC1 es doble. Junto a la salida tenemos la fórmula que permite calcular la frecuencia de operación del circuito.




