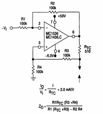
Este circuito fue sugerido por el Handbook Linear Interfaz IC de Motorola de 1993. Se pueden utilizar amplificadores operacionales equivalentes. El circuito tiene una alimentación simétrica de 50 + 6 V.

Este circuito fue sugerido por el Handbook Linear Interfaz IC de Motorola de 1993. Se pueden utilizar amplificadores operacionales equivalentes. El circuito tiene una alimentación simétrica de 50 + 6 V.
