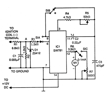
Este circuito se obtuvo en una antigua publicación de 1978. El circuito integrado es el componente crítico ya que ya no se fabrica. El circuito se utiliza para medir la rotación de los motores y el ángulo de apertura del sistema de encendido con platino. El circuito no sirve para vehículos modernos con ignición e inyección electrónica.




