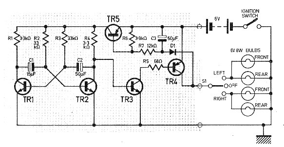
Este circuito, bastante conocido porque ya tenemos en otras versiones en este sitio, salió en una revista europea de 1976. La revista ya no existe, pero el circuito es actual, pudiendo ser montado con facilidad por los componentes que utiliza .TR1, TR2, TR2, TR3 pueden ser BC548. TR5 y TR6 BD136. El circuito es alimentado por pilas y las lámparas son de baja potencia de 6 V con un máximo de 100 mA. En el original, el circuito fue sugerido para vehículos antiguos con alimentación de batería de 6 V. Los condensadores pueden ser sustituidos por los de valores comerciales actuales más cercanos.




