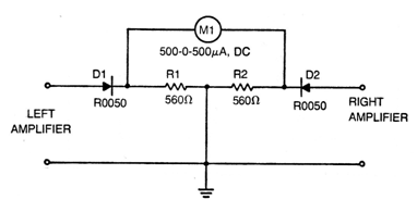
Este simple circuito indica cuando los dos canales de un equipo estéreo están balanceados. Los diodos pueden ser los 1N4002 o 1N4004 y el indicador es un microamperímetro con cero en el centro de la escala. El circuito se conecta a las salidas del amplificador. Es conveniente conectar en serie con el instrumento indicador una resistencia de 1k a 4k7, dependiendo de la potencia del amplificador.




