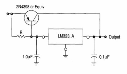
Con un transistor "boost" este circuito proporciona corrientes hasta 15 A. Los transistores equivalentes pueden ser utilizados. El circuito es del Linear Interfaz IC de Motorola de 1993.

Con un transistor "boost" este circuito proporciona corrientes hasta 15 A. Los transistores equivalentes pueden ser utilizados. El circuito es del Linear Interfaz IC de Motorola de 1993.
