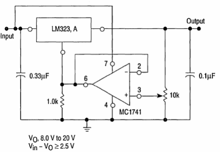
Este circuito puede proporcionar tensiones en el rango de 8 a 20 V con una corriente máxima de 3 A. El circuito es del Linear Interfaz IC de Motorola de 1993.

Este circuito puede proporcionar tensiones en el rango de 8 a 20 V con una corriente máxima de 3 A. El circuito es del Linear Interfaz IC de Motorola de 1993.
