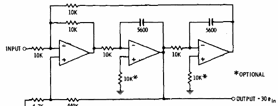
Esta configuración fue encontrada en un cookbook de filtros de 1975. Los operacionales pueden ser otros, pero deben ser alimentados por fuentes simétricas. Los capacitores se pueden cambiar para el funcionamiento en otras frecuencias y el factor Q es 30.




