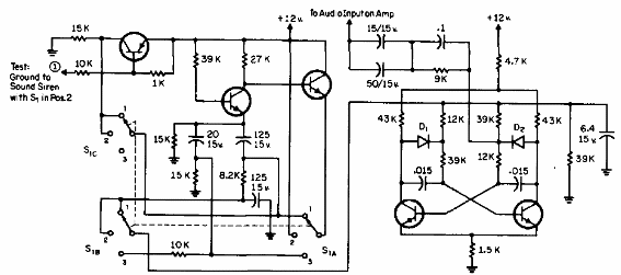
Encontrado en una documentación técnica de 1971, este circuito corresponde al modelo Dietz de sirena de policía. Los transistores pueden ser los BC548 y BC558, y la alimentación viene de la batería del coche. La señal se debe aplicar a un amplificador.




