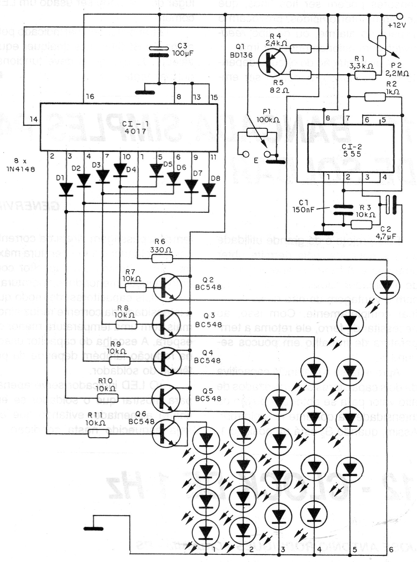
Este circuito de efectos se encontró en una documentación de 1995. El circuito hace que una secuencia de LED parpadee a una velocidad que varía con la señal de audio aplicada a la entrada. El circuito es modulado por un 555 a través de una señal de audio. La alimentación se realiza con una tensión de 12 V y los ajustes son de frecuencia y profundidad de modulación.




