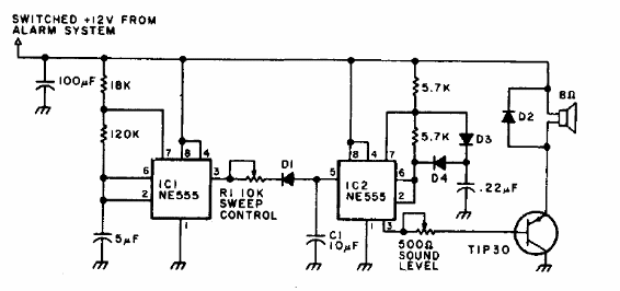
Encontramos este circuito en una publicación de 1976. El circuito puede ser montado con transistores como el TIP31 o TIP32. Los capacitores y resistores de tiempo se pueden cambiar para modificar el sonido. El altavoz debe tener buen rendimiento.

Encontramos este circuito en una publicación de 1976. El circuito puede ser montado con transistores como el TIP31 o TIP32. Los capacitores y resistores de tiempo se pueden cambiar para modificar el sonido. El altavoz debe tener buen rendimiento.
