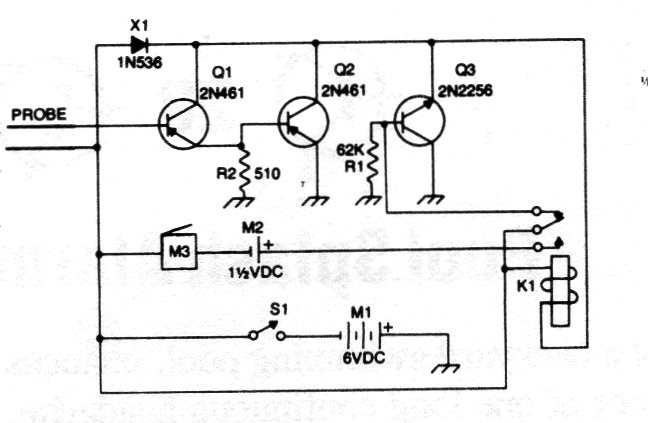
Si alguien cae en la piscina provocando una ola que moje el sensor, el relé cierra los contactos disparando una alarma. El circuito es de una publicación de 1981, pero puede ser implementado con transistores modernos como los BC558.
Lo que describimos es un pequeño móvil que funciona con pilas comunes. El circuito consiste en un...
Cuando aprieta el gatillo (S1) y el relé abre y cierra los contactos rápidamente produciendo un ruido...
En los estudios de ciencias del primer grado y de física del segundo grado se describe un aparato...