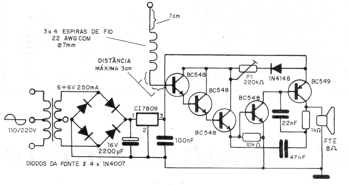
Este sensible detector de cargas electrostáticas utiliza sólo componentes discretos comunes. El circuito puede ser utilizado tanto como alarma como electroscópio. El sonido producido cuando la carga se detecta puede tener su tono ajustado en un trimpot. El circuito es alimentado por una fuente conectada a la red de energía.




