Si usted todavía utiliza TV en VHF o UHF con una antena en el techo o incluso interna y sufre con los problemas de reflexión que causan fantasmas en la imagen, el pequeño circuito que describimos puede ayudar. Ayuda a cancelar ciertas señales reflejadas, mejorando en muchos casos la calidad de la recepción.
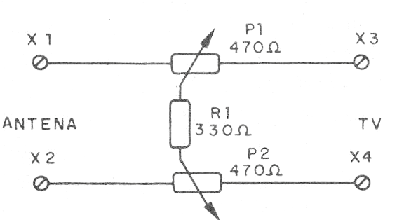
El circuito consiste en un filtro atenuador con dos potenciómetros que se intercalan entre la antena externa y la entrada de antena del televisor. Ajustando los potes se puede encontrar un punto de mejor recepción. En la figura 1 tenemos el diagrama completo del filtro.

El conjunto se puede instalar en una pequeña caja plástica con el aspecto real de las conexiones mostrado en la figura 2.

Lista de material
P1, P2 - 470 ohms - potenciómetros comunes
R1 - 330 ohms x 1/8 W-resistor - naranja, naranja, marrón
Varios: caja para montaje, terminales de entrada y salida de antena, botones para los potenciómetros, hilos, soldadura, etc.



