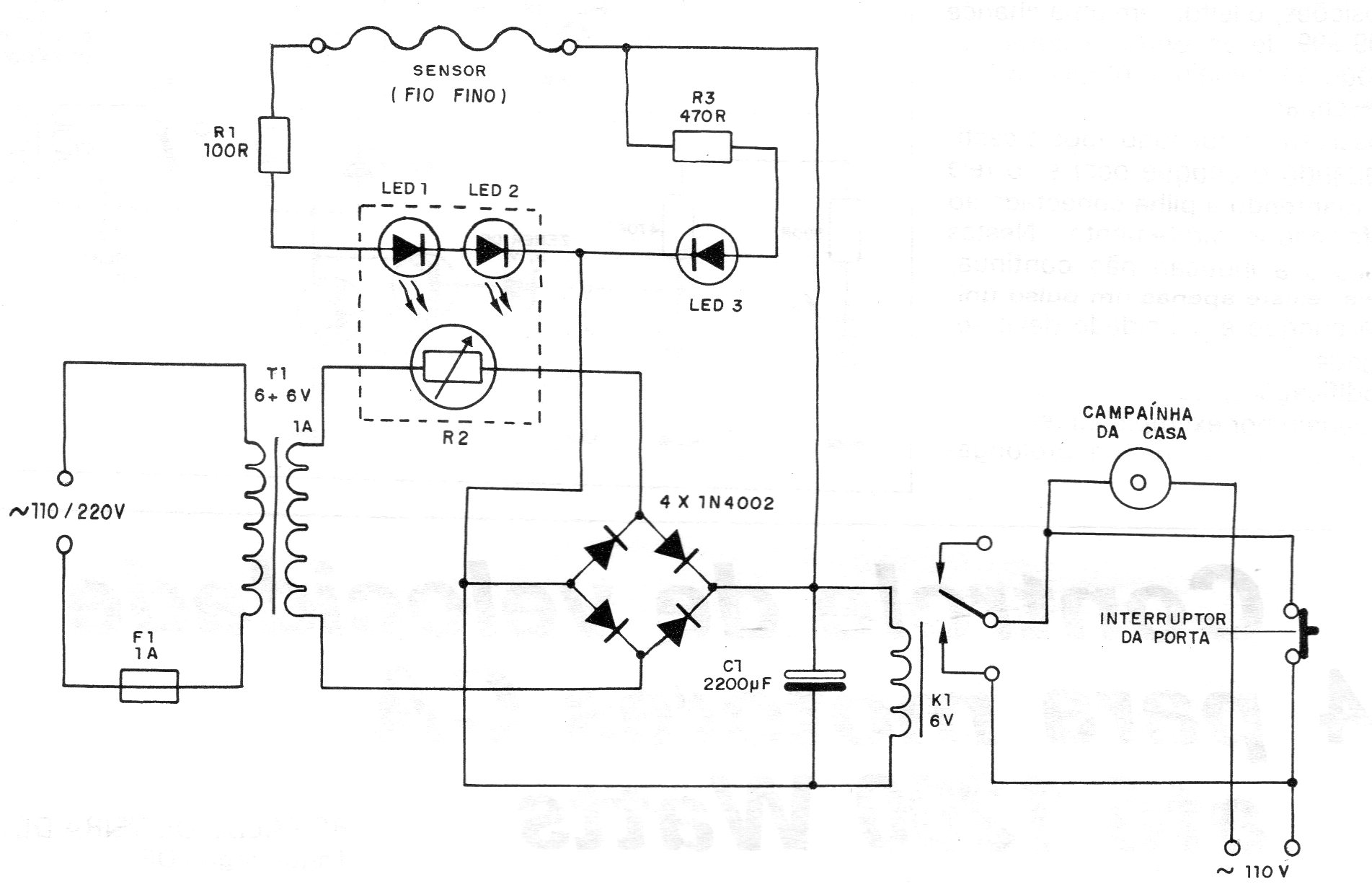
Este circuito es de una publicación de 1987, pero utiliza componentes aún comunes en nuestros días. El transformador es de 1 A con 6 V y el relé del tipo sensible de 6 V (preferiblemente un reed relé). El circuito utiliza un LDR que iluminado mantiene el relé activado. Cuando los sensores se interrumpen, el relé se desactiva y la alarma externa se dispara. Los sensores pueden ser de tipo reed o hilos finos.




