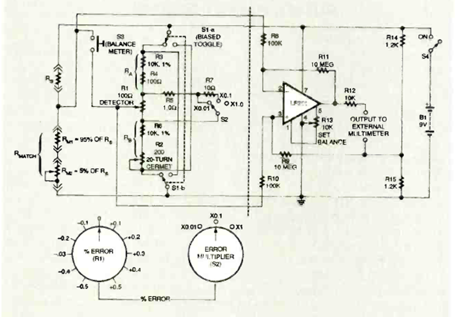
Encontramos este circuito en la revista Electronics Now de noviembre de 1995. El circuito es más preciso que el anterior utilizando un multímetro externo como indicador.
Lo que describimos es un pequeño móvil que funciona con pilas comunes. El circuito consiste en un...
Cuando aprieta el gatillo (S1) y el relé abre y cierra los contactos rápidamente produciendo un ruido...
En los estudios de ciencias del primer grado y de física del segundo grado se describe un aparato...