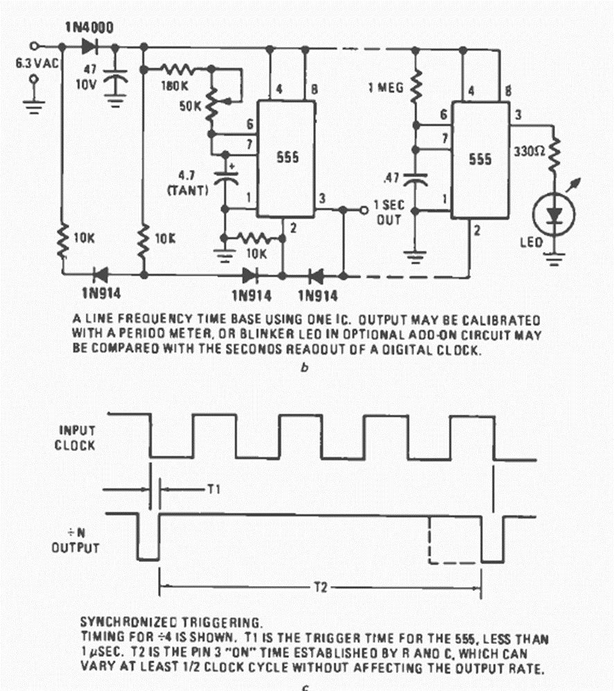
Este circuito sincronizado por la red eléctrica simplemente produce 1 pulso por segundo. El circuito es de una revista Radio Electronics de mayo de 1977.
El anemómetro es un instrumento usado en la medida de la velocidad del viento. El anemómetro que...
El circuito mostrado en la figura 1 modula un haz de luz emitido por un LED (visible o infrarrojo) a...
Este circuito se puede utilizar en el coche, para mantener la luz de cortesía encendida después de la...