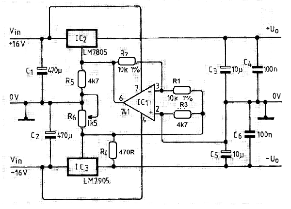
Con este circuito, de una publicación de 1991, se puede ajustar la salida de una fuente simétrica con un potenciómetro simple. El circuito puede ser adaptado a otros reguladores y en este caso la corriente de salida máxima es de 1 A. Los reguladores deben estar provistos de un radiador.




