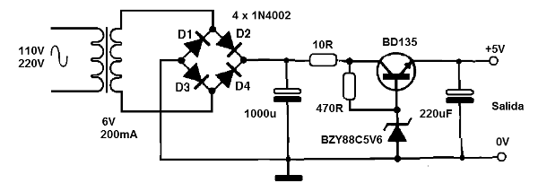
Esta fuente ha indicada para alimentar pequeños circuitos TTL y se fundó en una Radioelectrónica Constructor de 1977. Por supuesto, es una alternativa para aquellos que no tienen un 7805 con la mano o quiere una configuración de transistor para disfrutar de un Zener. Hemos cambiado el circuito para poder ser equipado con componentes modernos. El transformador debe tener 100-200 mA. Para corrientes de hasta 100 mA y BC547. Se desean una corriente de 200 a 500 mA utilizar un BD135.




