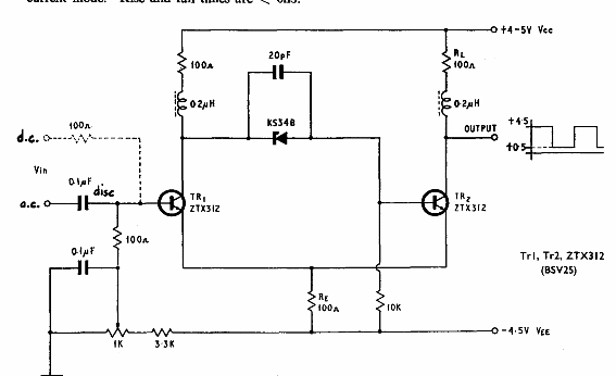
Encontrado en el manual de transistores Ferranti de 1974, este circuito disparador Schmitt utiliza transistores de propósito general de la época.

Disparador de alta velocidad
Encontrado en el manual de transistores Ferranti de 1974, este circuito disparador Schmitt utiliza transistores de propósito general de la época.
