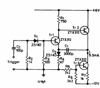
Encontramos este circuito en el manual de transistores Ferranti de 1974. Los transistores son de propósito general y la sincronización viene dada por C1.

Monoestable acoplado por emisor
Encontramos este circuito en el manual de transistores Ferranti de 1974. Los transistores son de propósito general y la sincronización viene dada por C1.
