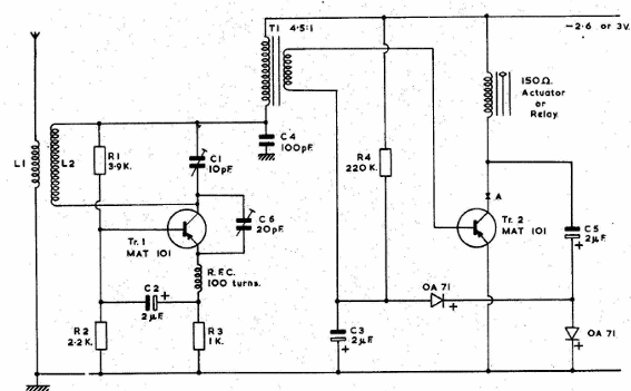
Este circuito detector súper regenerativo se encontró en una documentación en inglés de 1963. La bobina cumple con la frecuencia. Los transistores son de germanio de la época.

Receptor para mando a distancia
Este circuito detector súper regenerativo se encontró en una documentación en inglés de 1963. La bobina cumple con la frecuencia. Los transistores son de germanio de la época.
