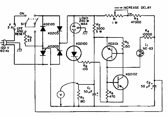
Este temporizador puede controlar cargas de hasta 240 W. Lo encontramos en una documentación RCA de 1967. Los componentes principales admiten equivalentes modernos.

Temporizador de 5 a 300 segundos
Este temporizador puede controlar cargas de hasta 240 W. Lo encontramos en una documentación RCA de 1967. Los componentes principales admiten equivalentes modernos.
