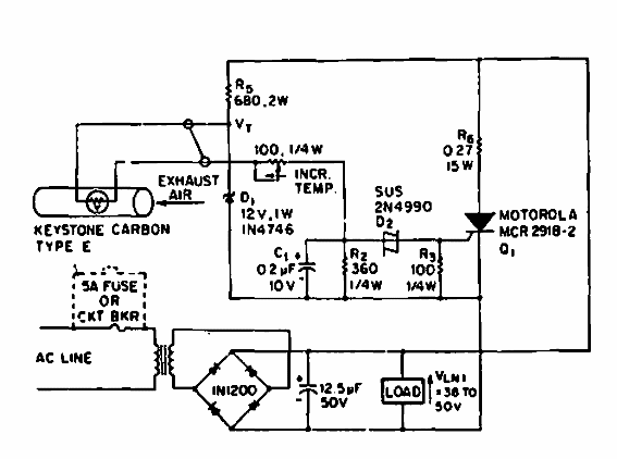
Este circuito utiliza un filamento calentado como sensor. Con la corriente de aire cambia la resistencia y el circuito la detecta. El circuito es de una EEE de 1969.

Monitor de temperatura y velocidad del aire
Este circuito utiliza un filamento calentado como sensor. Con la corriente de aire cambia la resistencia y el circuito la detecta. El circuito es de una EEE de 1969.
