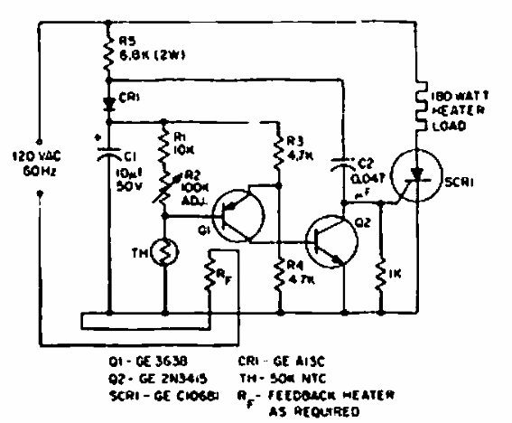
El propósito de este circuito, que se encuentra en un manual de GE de SCR de 1967, es controlar un elemento calefactor. El SCR debe tener corriente de acuerdo con la carga controlada.

Interruptor de paso por cero
El propósito de este circuito, que se encuentra en un manual de GE de SCR de 1967, es controlar un elemento calefactor. El SCR debe tener corriente de acuerdo con la carga controlada.
