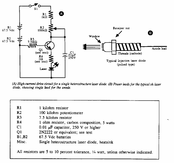
Controlador de láser de estado sólido (CIR20544S)
Este circuito para la excitación y modulación de láser semiconductor se encontró en una documentación estadounidense de los años 80. El transistor puede ser de mayor potencia y la potencia de la batería se puede realizar por fuente.

Controlador de láser de estado sólido



