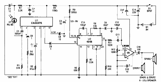
Este circuito es de un Popular Electronics de los años 90. El amplificador de audio admite equivalente. Los demás integrados no son muy habituales en la actualidad.

Microteléfono infrarrojo inalámbrico
Este circuito es de un Popular Electronics de los años 90. El amplificador de audio admite equivalente. Los demás integrados no son muy habituales en la actualidad.
