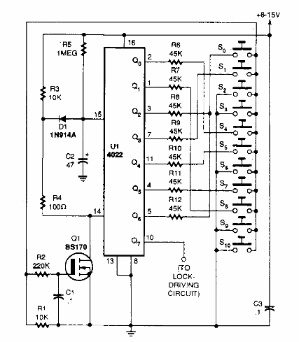
Este circuito CMOS fue encontrado en un Popular Electronics de los años 80. El circuito consiste en un contador que tiene su salida activada cuando se presiona la combinación de teclas seleccionada.

Cerradura electrónica
Este circuito CMOS fue encontrado en un Popular Electronics de los años 80. El circuito consiste en un contador que tiene su salida activada cuando se presiona la combinación de teclas seleccionada.
